-
Home > Products > Glass Insulator
U40B/178/110/190 Glass insulator
U40B 40kN Disc Suspension Insulator, ball & socket, stable for medium-high voltage transmission lines.
- Brand: SOLARIS
- Catalog ID: UG40B110/190N
- Type: Standard type insulator
- Material: Tempered Glass,Galvanized Steel
- Place of Origin: UK
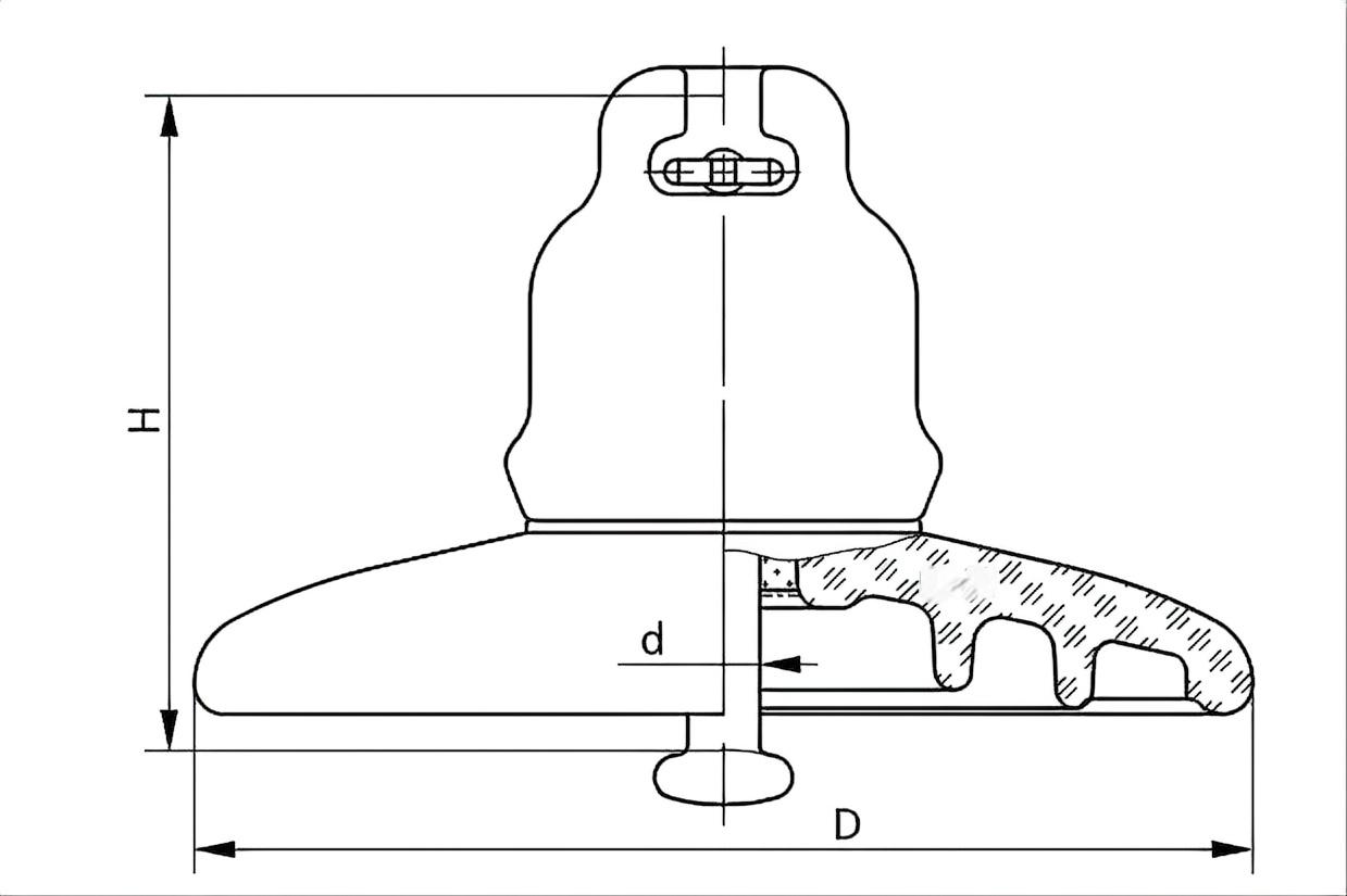
Product drawing

Product parameters
| IEC designation | U40B/110 | |
| Mechanical failing load | kn | 40 |
| Diameter D | mm | 178 |
| Height H | mm | 110 |
| Creepage distance L | mm | 190 |
| Socket coupling | mm | 11 |
| Wet power frequency withstand voltage | kv | 25 |
| Dry lightning impulse withstand voltage | kv | 50 |
| Power frequency puncture voltage | kv | 90 |
| Radio interference voltage(10kV 1MHz) | μv | 50 |
| Corona visual test | kv | 18/22 |
| Power frequency electric arc voltage | ka | 0.12s/20kA |
| Impulse puncture voltage | P.U | 2.8 |
| Net weight per unit | kg | 2.1 |
Product Information

Model:U40B
U Refers To Disc Suspension Insulator
40 indicates a rated Mechanical failing load of 40kN
B For Ball And Socket Type
110- indicates that the height of the insulator structure is 110mm.
175- indicates that the diameter of the insulator disc is 175mm.
190- indicates that the creepage distance of the insulator is 190mm.
Type: Standard profile Toughened Suspension Type
Rated mechanical load: 40kn (about 4 tons)
Purpose: Widely applicable as insulation support for medium and high voltage transmission lines and substation equipment, capable of stable operation under various climatic conditions.
The product model is in accordance with IEC60383-1:1993,MOD / GB/T1001.1
The connection structure is in accordance with GB/T4056-2008(IEC60120:1984,MOD) and BS 3288 part lll.
According to customer requirements, the locking pin can be either W-pin or R-pin.
lf there is no special instruction, R pin is used for U40B


